ID CP2898017

Vânzare, teren pentru construcții, orașul Ialoveni

ID CP2898017

32,000 €

Teren de 1,200 mp de vânzare
Ialoveni
1,200 mp

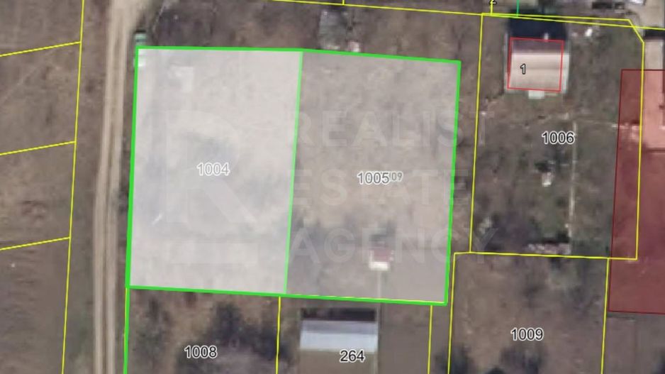
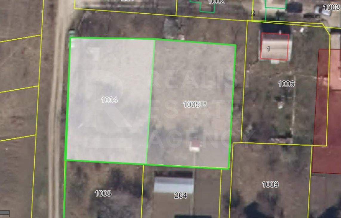
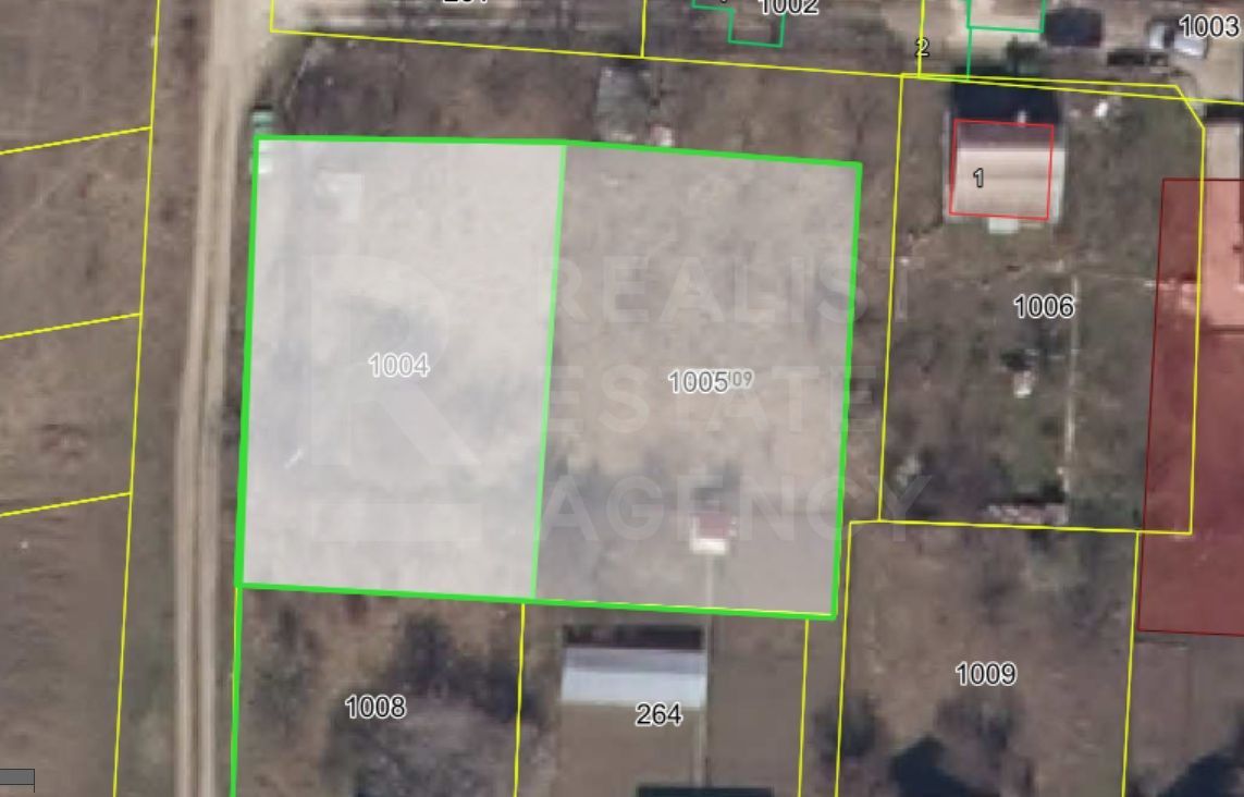
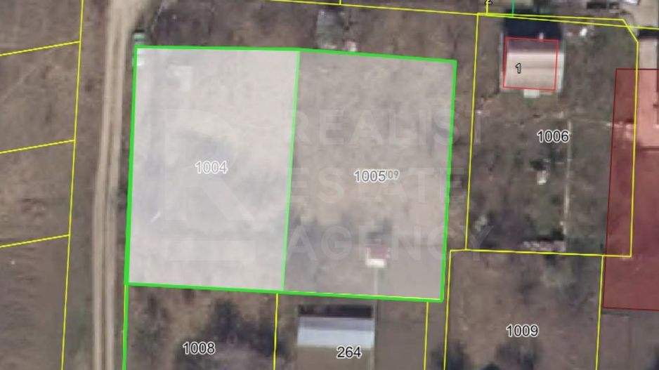
2 loturi pentru construcție cu o suprafață de 6 ari fiecare, amplasat în Zona IP Floare, IP Dotanax, Ialoveni directia spre Costesti (G104)

Facilități:

- extravilan cu destinația lot pomicol si construcția unei case de vacanță;

- lotul este divizat in doua, a cate cate 6 ari fiecare;

- din comunicații: drum de acces betonat, electricitate;

- loturile împreună au dimensiunea 40mX30m.

Pentru mai multe detalii, nu ezitați să contactați expertul nostru.

Citește mai mult

  • Tip teren
    Construcții
  • Suprafață teren
    1,200 mp
  • Front stradal
    30.0 m
  • Număr fronturi stradale
    2
  • Deschidere la
    Drum de servitute
  • Distanța față de utilități
    300.0 m
  • Clasificare
    Extravilan
  • Disponibilitate
    Imediat

Facilități

Acces auto
Curent
Oportunitate de investiții
Parcelabil
Străzi betonate
Utilități în zonă
Igor Ciobanu - Realist Estate Agency SRL
Igor Ciobanu
Expert imobiliar

+37378888367


Solicită chiar acum o vizionare
Telefon
Sună acum Solicită vizionare
Necesare:

Site-ul nu poate funcționa corect fără aceste cookie-uri. Vezi cookie-urile

Statistică:

Strângem statistici anonime despre voi, vizitatorii unici, pentru a vă îmbunătăți experiența dumneavoastră. Vezi cookie-urile

Marketing:

Pentru a ne promova mai eficient serviciile noastre, folosim cookies pentru a vă identifica și a vă oferi proprietăți și servicii personalizate. Vezi cookie-urile

Acest site folosește cookies, află detalii. Alege ce tipuri de cookies dorești să permitem: